This section doesn’t currently include any content. Add content to this section using the sidebar.

Add your deal, information or promotional text

About CurteGear

Ever stalked a wary buck in the dead of dawn, the only sound the crunch of leaves underfoot? Or maybe you've been on a recon mission, every rustle a potential threat. That's where I come in. My name's Chris, and I built CurteGear Tactical out of sheer frustration.

Ever stalked a wary buck in the dead of dawn, the only sound the crunch of leaves underfoot? Or maybe you've been on a recon mission, every rustle a potential threat. That's where I come in. My name's Chris, and I built CurteGear Tactical out of sheer frustration.

files/PXL_20230519_074726965.MP.jpg

For over 16 years, I've served in a law enforcement capacity. It is a good life, adrenaline pumping, stakes high. But there was one constant annoyance: the racket of velcro or loud snaps. Every time I needed a quick access pouch, that ripping sound seemed to echo through the environment I worked in, alerting anyone within earshot. Frustrating my partners and revealing my position to bad guys. It felt like a rookie mistake every single time.

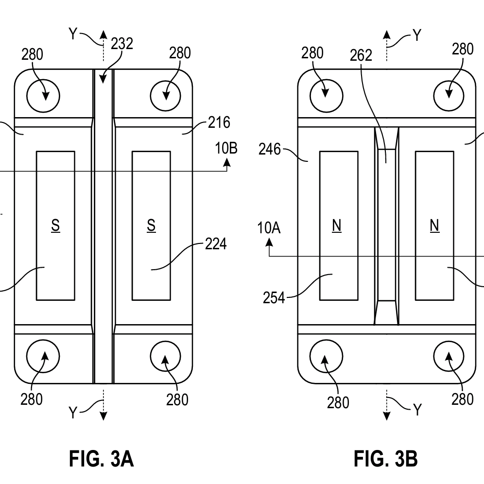
That's when the idea struck. Why not use magnets and not just regular magnets but neodymium ones? They're silent, secure, and strong as heck. After months of tinkering and testing, I came up with my fist prototype, a now patent-pending magnetic closure that's revolutionized the way I operate – and it can do the same for you.

For over 16 years, I've served in a law enforcement capacity. It is a good life, adrenaline pumping, stakes high. But there was one constant annoyance: the racket of velcro or loud snaps. Every time I needed a quick access pouch, that ripping sound seemed to echo through the environment I worked in, alerting anyone within earshot. Frustrating my partners and revealing my position to bad guys. It felt like a rookie mistake every single time.

That's when the idea struck. Why not use magnets and not just regular magnets but neodymium ones? They're silent, secure, and strong as heck. After months of tinkering and testing, I came up with my fist prototype, a now patent-pending magnetic closure that's revolutionized the way I operate – and it can do the same for you.

CurteGear Tactical isn't some faceless corporation either. I'm a small business run by a guy who knows the value of silence. Whether you're a seasoned hunter, a dedicated angler, a fellow officer or agent, or a weekend warrior, we understand the need for stealth and efficiency.

Our pouches are built with the toughest materials, designed to withstand the harshest conditions. But what truly sets us apart is the CurteGear magnetic fastener. It's the quiet warrior you never knew you needed, offering silent access and a secure hold for those moments in life that require the stillness before the storm.

CurteGear Tactical isn't some faceless corporation either. I'm a small business run by a guy who knows the value of silence. Whether you're a seasoned hunter, a dedicated angler, a fellow officer or agent, or a weekend warrior, we understand the need for stealth and efficiency.

Our pouches are built with the toughest materials, designed to withstand the harshest conditions. But what truly sets us apart is the CurteGear magnetic fastener. It's the quiet warrior you never knew you needed, offering silent access and a secure hold for those moments in life that require the stillness before the storm.

files/PXL_20230925_195859878_2.jpg
files/1000002929.png

So ditch the velcro symphony. Upgrade your gear to the silent revolution, a new way to perform tactically, we believe silence is golden.

So ditch the velcro symphony. Upgrade your gear to the silent revolution, a new way to perform tactically, we believe silence is golden.

Search